Lubrication System Components
|
|
|
|
|
|
| Illustration 1 | g00562119 |
|
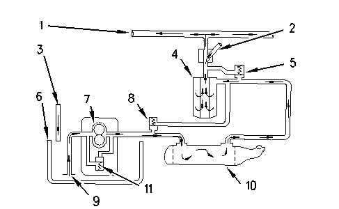
Lubrication system components (1) Oil supply line (2) Oil return line (3) Oil cooler (4) Oil filter (5) Oil pan |
|
The lubrication system consists of the following components:
- Oil pan
- Oil pump
- Oil cooler
- Oil filter
- Turbocharger oil lines
- Oil passages in the cylinder block
Oil Flow Through The Oil Filter And Oil Cooler
|
|
|
|
|
|
| Illustration 2 | g00562123 |
|
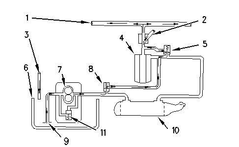
Oil flow when the engine is warm. (1) Oil manifold (2) Oil supply line (3) Oil return line (4) Oil filter (5) Bypass valve for the oil filter (6) Oil pan (7) Oil pump (8) Bypass valve for the oil cooler (9) Oil pickup tube (10) Oil cooler (11) Bypass valve for the oil pump |
|
When the engine is warm, oil is drawn from oil pan (6) through oil pickup tube (9) to oil pump (7). The oil pump pushes the hot oil through oil cooler (10). The oil is then sent to the oil filter (4). Oil from the oil filter is sent to the oil manifold (1) in the cylinder block and to the oil supply line (2) for the turbocharger. Oil from the turbocharger returns through the oil return line (3) to the oil pan.
|
|
|
|
|
|
| Illustration 3 | g00562383 |
|
Oil flow when the engine Is cold. (1) Oil manifold (2) Oil supply line (3) Oil return line (4) Oil filter (5) Bypass valve for the oil filter (6) Oil pan (7) Oil pump (8) Bypass valve for the oil cooler (9) Oil pickup tube (10) Oil cooler (11) Bypass valve for the oil pump |
|
When the engine is cold, oil is drawn from oil pan (6) through oil pickup tube (9) to oil pump (7). When the oil is cold, an oil pressure differential in the bypass valves causes the bypass valves to open. These bypass valves then provide immediate lubrication to all of the engine components when cold oil with high viscosity causes a restriction to oil flow through oil cooler (10) and oil filter (4). The oil pump then pushes the cold oil through bypass valve (8) for the oil cooler and through the bypass valve (5) for the oil filter. The pressurized oil then flows to oil manifold (1) in the cylinder block and to supply line (2) for the turbocharger. Oil from the turbocharger returns through oil return line (3) to the oil pan.
As the oil warms, the oil pressure differential in the bypass valves allows the bypass valves to close. Normal oil flow through the oil cooler and the oil filter is then established.
The bypass valves will also open when there is a restriction in the oil cooler or the oil filter. This prevents a restricted oil filter or a restricted oil cooler from stopping the lubrication of the engine. Pressure in the lubrication system is limited by the oil pump bypass valve (11) .
Oil Flow In The Engine
|
|
|
|
|
|
| Illustration 4 | g00613557 |
|
Engine oil flow schematic (1) Rocker arm shaft (2) Oil passage to adjustable idler gear (3) Camshaft bearing journals (4) Oil passage to air compressor (if equipped) (5) Oil passage to the fixed idler stub shaft (6) Piston cooling jet (7) Oil passage to cluster idler gear (8) Oil passage to the rear crankshaft seal (9) Oil manifold (10) Crankshaft main bearings (11) Oil passage from filter |
|
A pressure control valve that is located in the oil pump controls the pressure of the oil that flows from the oil pump. From the oil pump, the lubrication oil is sent to the oil filter. After the lubrication oil is filtered, the oil enters the oil passage from filter (11). The oil passage from the filter supplies pressurized lubrication oil to oil manifold (9) .
The oil from the oil manifold is sent under pressure through drilled passages to the crankshaft main bearings (10). The oil flows through drilled holes in the crankshaft. This oil lubricates the connecting rod bearings. A small amount of oil is sent to the piston cooling jets (6). Oil from the piston cooling jets is used in order to cool the pistons.
Oil flows through passages in the timing gear housing and the accessory drive gear. This oil flows to the air compressor (if equipped) through the oil passage (4) .
Oil passage (2) provides oil to the adjustable idler gear. Oil passage (5) provides oil to the fixed idler gear. Oil passage (7) provides oil to the cluster gear. The oil flows through a passage in the shafts of the gears. This lubrication helps to ensure a long life for the front gear group.
Oil passage (8) provides lubrication to the rear crankshaft seal. This ensures a long service life for the rear crankshaft seal.
Oil flows into the cylinder head through a hollow locating dowel in the top deck of the cylinder block. Oil travels to the camshaft bearing journals (3) and the three center rocker arm shaft supports through drilled passages in the cylinder head. The supports supply oil to each rocker shaft. Oil flows to the bushings of the electronic unit injector rocker arm through holes in the rocker arm shaft (1). This same oil lubricates the valve and the rollers. Oil flows through drilled passages in the rocker arms. This oil lubricates the roller, the valve bridge and the contact surfaces of the actuator of the unit injector. Splash lubrication is used to lubricate other components of the valve system.
The oil returns to the oil pan in order to be recirculated into the engine’s lubrication system.



