The following model views show typical C-15 and C-16 Engine features. Due to individual applications, your engine may appear different from the illustrations.
|
|
|
|
|
|
| Illustration 1 | g00764903 |
|
Typical example Left side view (1) Fuel priming pump. (2) Fuel transfer pump. (3) Fuel distribution. (4) Fuel filter. (5) Electronic Control Module (ECM). |
|
|
|
|
|
|
|
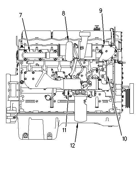
| Illustration 2 | g00764904 |
|
Right side view (7) Exhaust manifold. (8) Turbocharger. (9) Temperature regulator housing. (10) Water pump. (11) Oil cooler. (12) Oil filter. |
|
|
|
|
|
|
|
| Illustration 3 | g00423802 |
|
Top view (1) Fuel priming pump. (2) Fuel transfer pump. (7) Exhaust manifold. (8) Turbocharger. (13) Flywheel housing. |
|
|
|
|
|
|
|
| Illustration 4 | g00764973 |
|
Front view (14) Front timing gear housing. (15) Oil gauge. (16) Vibration damper. |
|
|
|
|
|
|
|
| Illustration 5 | g00764974 |
|
Typical example Rear view (13) Flywheel housing. (17) Flywheel. |
|
General Information
The engines are electronically controlled mechanically actuated unit injector diesel engines. The C-15 is an in-line six cylinder engine with a bore of 137 mm (5.4 inch) and with a stroke of 165 mm (6.5 inch). The C-15 engine has a total displacement of 14.6 L (893 in3). The engine is configured for turbocharged air-to-air aftercooling with electronic unit injection.
The engines are electronically controlled mechanically actuated unit injector diesel engines. The C-16 is an in-line six cylinder engine with a bore of 140 mm (5.5 inch) and with a stroke of 171 mm (6.7 inch). The C-16 engine has a total displacement of 15.8 L (964.18 in3). The engine is configured for turbocharged air-to-air aftercooling with electronic unit injection. Both engines have a firing order sequence:1, 5, 3, 6, 2 and 4. The rotation of these engines is counterclockwise when the engine is viewed from the flywheel end of the engine.
The C-15 and the C-16 Engines incorporate several major improvements. These components included an improved electronic control system. The new features lower the smoke level for emissions under all operating conditions.
The Electronic Unit Injector system eliminates many of the mechanical components that are traditionally used in the fuel injector assembly. The Electronic Unit Injector (EUI) also provides increased control of the timing and the fuel air mixture. The timing advance is achieved by precise control of the fuel injection timing. Engine rpm is controlled by adjusting the injection duration.
The engine has built-in diagnostics in order to ensure that all of the components are operating properly. In the event of a system component failure, the operator will be alerted to the condition by a warning lamp or a diagnostic lamp. The check engine light is located on the dashboard. An electronic service tool can be used to read the numerical code of the faulty component or condition. Intermittent faults are logged and stored in memory.
Starting the Engine
The Electronic Control Module (ECM) will automatically provide the correct amount of fuel that is necessary to start the engine. The throttle should not be held while the engine is being cranked. If the engine fails to start in 30 seconds, the starter switch should be released. The starter motor should be allowed to cool for two minutes before being used again.
|
|
| NOTICE |
|---|
|
Excessive ether (starting fluid) can cause piston and ring damage. Use ether for cold weather starting purposes only. |
|
|
Cold Mode Operation
The ECM will set the cold start strategy when the coolant temperature is below 18 °C (64 °F).
When the cold start strategy is activated, low idle rpm will be increased to 1000 rpm and engine power will be limited.
Cold mode operation will be deactivated when any of the following conditions have been met:
- Coolant temperature reaches 18 °C (64 °F).
- The engine has been running for fourteen minutes.
Cold mode operation varies the fuel injection amount for white smoke cleanup. Cold mode operation also varies the timing for white smoke cleanup. The engine operating temperature is usually reached before the walk-around inspection is completed. The engine will idle at the programmed low idle rpm in order to be put in gear.
|
|
| NOTICE |
|---|
|
A machine equipped with this electronically controlled engine should not be moved until it is out of Cold Mode operation. If the machine is operated while in Cold Mode operation power will be noticeably reduced. |
|
|
After the cold mode is completed, the engine should be operated at low rpm until normal operating temperature is reached. The engine will reach normal operating temperature faster when the engine is operated at low rpm and low power demand.
Customer Specified Parameters
The engine is capable of being programmed for several customer specified parameters. For a brief explanation of each of the customer specified parameters, see the Operation and Maintenance Manual.




