|
|
|
|
|
|
| Illustration 1 | g01061346 |
|
Fuel system schematic (1) Fuel supply line (2) Electronic unit injectors (3) Fuel gallery (4) Electronic Control Module (ECM) (5) Fuel pressure sensor (6) Fuel temperature sensor (7) Pressure regulating valve (8) Secondary fuel filter (9) Fuel priming pump (10) Fuel transfer pump (11) Primary fuel filter (12) Fuel tank |
|
The fuel supply circuit is a conventional design for engines with electronic unit injection. A fuel tank (12) is used to store the fuel prior to use by the engine. A primary fuel filter/water separator (11) is placed into the fuel supply circuit in order to remove large debris from the fuel. This debris may have entered the fuel tank during fueling. The debris may have also entered the fuel tank through the vent for the fuel tank. The primary filter element also separates water from the fuel. The water is collected in the bowl at the bottom of the primary fuel filter/water separator.
Fuel is drawn from the fuel tank by the fuel transfer pump (10) . The fuel transfer pump is a gear pump with fixed clearances. The fuel transfer pump incorporates an internal relief valve that protects the fuel system from extreme pressure. In the case of extreme pressure, fuel is redirected back to the inlet of the fuel transfer pump. There are internal check valves that are also incorporated into the fuel transfer pump. An inlet check valve prevents fuel from draining back to the fuel tank while the fuel transfer pump is not in operation. An outlet check valve is used in order to prevent pressurized fuel leakage back through the pump. The fuel transfer pump is located in the front of the engine. The fuel transfer pump is driven by the front gear train.
Note: The inlet fuel temperature to the fuel transfer pump must not exceed 79 °C (175 °F) when the engine has reached normal operating temperature. Fuel temperatures above 79 °C (175 °F) will reduce the life of the fuel transfer pump check valves. The fuel efficiency and the engine power output are reduced when the fuel temperature increases from 30 °C (86 °F) to 70 °C (158 °F). The fuel heaters should be turned “OFF” during warm weather operating conditions.
Fuel from the fuel transfer pump flows to the fuel filter base. The fuel flows through cored passages in the fuel filter base. The fuel priming pump (9) is mounted on the fuel filter base. The fuel priming pump is used in order to pump the fuel manually into the fuel system after the system, or parts of the system have been drained. The fuel priming pump is used in order to refill the fuel system after air has been introduced into the system. For more information on priming the fuel system, refer to Testing and Adjusting, “Fuel System – Prime”.
As the fuel flows through cored passages in the fuel filter base, the fuel is directed into a 2 micron fuel filter (8) . The fuel is filtered in order to remove small abrasive particles that will cause premature wear to fuel system components. Fuel flows out of the fuel filter and returns to the passages in the fuel filter base. Prior to exiting the fuel filter base, the fuel pressure and the fuel temperature is sampled by the fuel pressure sensor (5) and by the fuel temperature sensor (6) . The signals that are generated by the sensors are used by the engine control in order to monitor the condition of the engine components. This information is also used to adjust the fuel delivery of the engine in order to optimize efficiency.
The fuel flows from the fuel filter base to the Electronic Control Module (ECM) (4) . The pressurized fuel is used in order to cool the electronic components that are in the ECM. Excessive heat will damage the electronic components in the ECM. The electronics are used to control engine operation.
The fuel is then directed through the fuel supply line (1) to fuel manifold (3) that runs the length of the cylinder head. The fuel enters the cylinder head at the front of the engine. A continuous flow of fuel is supplied to the electronic unit injectors (2) in order to perform the following tasks:
- Supply fuel for injection
- Remove excessive heat from the injectors.
- Remove air that may accumulate in the fuel system.
The excess fuel flow that pumped through the system exits the cylinder head near the rear of the engine.
The fuel exits the fuel gallery and returns to the fuel filter base. A pressure regulating valve (7) that is located in the fuel filter base regulates the pressure for the fuel system. A sufficient amount of back pressure is maintained in the system in order to ensure a continuous availability of fuel to the electronic unit injectors.
Fuel Heaters
Fuel heaters prevent the waxing of the fuel in cold weather. The engine does not dissipate enough heat in order to prevent waxing during cold-weather conditions. Heaters that are not thermostatically controlled can heat the fuel in excess of 65 °C (149 °F). High fuel temperatures can have the following effects:
- Reduced engine efficiency
- Fuel pump damage
- Premature wear
Note: Fuel heaters without thermostatic controls must never be used.
The two types of fuel heaters that can be used: thermostatically controlled and self-adjusting.
Fuel System Electronic Control Circuit
|
|
|
|
|
|
| Illustration 2 | g01423612 |
|
Electronic governor (13) Signals to the electronic unit injectors (14) Fuel injection control (15) Fuel position (16) Electronic governor (17) Desired rpm (18) Coolant temperature (19) TC for No. 1 cylinder (20) Fuel Ratio Control (FRC) fuel position (21) Rated fuel position (22) Fuel Control Relay (FCR) maps (23) Torque maps (24) Engine speed/timing sensor (25) Engine speed/timing signal interpreter (26) Engine rpm (27) Coolant temperature sensor (28) Boost pressure sensor (29) Boost pressure |
|
The injection pump, the fuel lines, and the nozzles that are used in the traditional Caterpillar diesel engines have been replaced with an electronically controlled, mechanically actuated electronic unit injector in each cylinder. A solenoid on each injector controls the amount of fuel that is delivered by the injector. An Electronic Control Module (ECM) sends a signal to each injector solenoid in order to provide complete control of the engine.
Fuel Injection
The ECM controls the amount of fuel that is injected by varying the signals that are sent to the injectors. The ECM sends a high voltage signal to the solenoid in order to energize the solenoid. The injectors will inject fuel only while the injector solenoid is energized. By controlling the timing and the duration of the voltage signal, the ECM can control injection timing and the amount of fuel that is injected.
The ECM sets certain limits on the amount of fuel that can be injected. “FRC” is a limit which controls the amount of air and of fuel for emission control. This limit is based on the boost pressure. When the ECM senses a higher boost pressure, the ECM increases the “FRC” limit. “Rated Fuel Pos” is a limit that is based on the horsepower rating of the engine. This is similar to the rack stops and to the torque spring on a mechanically governed engine. “Rated Fuel Pos” provides horsepower and torque curves for a specific engine family and for a specific engine rating. All of these limits are programmed into the personality module by the factory. These limits are not programmable by the service technician.
Injection timing depends on three factors: the engine speed (rpm), the engine load and the operational conditions of the engine. The ECM determines the top center position of No. 1 cylinder from the signal that is provided by the engine speed/timing sensor. The ECM decides when the injection should occur relative to the top center position. The ECM then provides the signal to the electronic unit injector at the desired time.
Electronic Unit Injector Mechanism
|
|
|
|
|
|
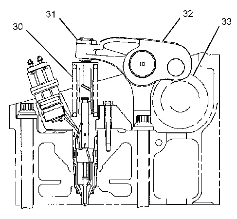
| Illustration 3 | g01423616 |
|
Electronic unit injector mechanism (30) Electronic unit injector (31) Adjusting nut (32) Rocker arm assembly (33) Camshaft lobe |
|
The electronic unit injector mechanism provides the downward force that is required to pressurize the fuel in the electronic unit injector pump. The electronic unit injector (30) allows fuel to be injected into the combustion chamber with precise timing. Movement is transmitted from the camshaft lobe (33) for the electronic unit injector through the rocker arm assembly (32) to the top of the electronic unit injector. The adjusting nut (31) allows the injector lash to be adjusted. For the proper setting of the injector lash, refer to the topic on adjustment of the electronic unit injector in Testing and Adjusting, “Electronic Unit Injector – Adjust”.
Electronic Unit Injector
|
|
|
|
|
|
| Illustration 4 | g01423618 |
|
Electronic unit injector (34) Spring (35) Solenoid connection to the Electronic Control Module (ECM) (36) Solenoid valve assembly (37) Plunger assembly (38) Barrel (39) Seal (40) Seal (41) Spring (42) Spacer (43) Body (44) Check valve |
|
Fuel at low pressure from the fuel supply manifold enters the electronic unit injector at the fill port through drilled passages in the cylinder head.
As the electronic unit injector mechanism transfers the force to the top of the electronic unit injector, spring (34) is compressed and plunger (37) is driven downward. This action displaces fuel through the valve in solenoid valve assembly (36) , and into the return manifold to the fuel tank. As the plunger travels downward, the passage in barrel (38) is closed by the outside diameter of the plunger. The passages within body (43) and along check valve (44) to the injector tip already contain fuel for injection. After the passage in the plunger barrel is closed, the injector is ready for injection at any time. The start of injection relies on the software in the Electronic Control Module (ECM).
When the solenoid valve assembly is energized from a signal across solenoid connection (35) , the valve closes and fuel pressure is elevated in the injector tip. Injection begins at 34500 ± 1900 kPa (5000 ± 275 psi) as the force of spring (34) above spacer (42) is overcome. The check valve begins to lift from the valve seat. The pressure continues to rise as the plunger cycles through a full stroke. After the correct amount of fuel has been discharged into the cylinder, the ECM removes the signal to the solenoid connection. The solenoid valve assembly is de-energized and the valve in the solenoid valve assembly is opened. The high-pressure fuel is then dumped through the spill port and into the fuel return manifold. The fuel is then returned to the fuel tank. The check valve in the injector tip seats as the pressure in the tip decreases.
The duration of injection meters the fuel that is consumed during the fuel injection process. Injection duration is controlled by the governor logic that is programmed into the ECM.
As the camshaft lobe rotates past the point of maximum lobe lift, the force on top of the electronic unit injector is removed and the spring for the injector mechanism is allowed to expand. The plunger returns to the original position uncovering the fuel supply passage into the plunger barrel in order to refill the injector pump body. The fuel at low pressure is again allowed to circulate through the fuel injector body. After circulating through the fuel injector body, the fuel flows out of the spill port and continues until the solenoid valve assembly is re-energized for another injection cycle.



