|
|
|
|
|
|
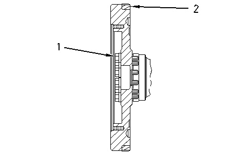
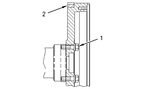
| Illustration 1 | g00390312 |
3N-8804 Flywheel Group
Note: Refer to the System Operation, Testing & Adjusting, “Flywheel Runout” for the correct method of flywheel inspection.
(1) Apply 4C-5593 Anti-Seize Compound to the threads of the bolts. Tighten the bolts to the following torque. … 270 ± 40 N·m (200 ± 30 lb ft)
(2) The maximum temperature of the ring gear for installation … 315°C (600°F)
|
|
|
|
|
|
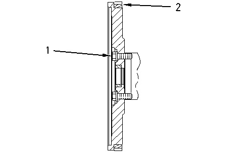
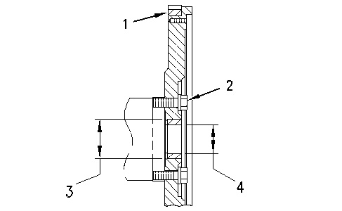
| Illustration 2 | g00390313 |
|
4P-3100 Flywheel Group |
|
Note: Refer to the System Operation, Testing & Adjusting, “Flywheel Runout” for the correct method of flywheel inspection.
(1) Apply 4C-5593 Anti-Seize Compound to the threads of the bolts. Tighten the bolts to the following torque. … 270 ± 40 N·m (200 ± 30 lb ft)
(2) The maximum temperature of the ring gear for installation … 315°C (600°F)
|
|
|
|
|
|
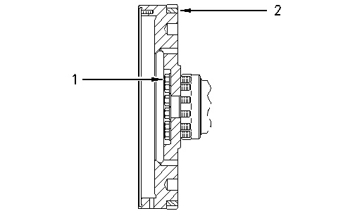
| Illustration 3 | g00390314 |
4W-7370 Flywheel Group
Note: Refer to the System Operation, Testing & Adjusting, “Flywheel Runout” for the correct method of flywheel inspection.
(1) Apply 4C-5593 Anti-Seize Compound to the threads of the bolts. Tighten the bolts to the following torque. … 270 ± 40 N·m (200 ± 30 lb ft)
(2) The maximum temperature of the ring gear for installation … 315°C (600°F)
|
|
|
|
|
|
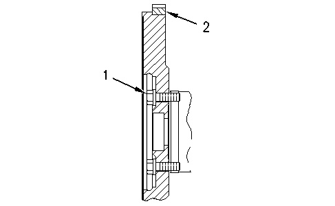
| Illustration 4 | g00390315 |
6N-1281 Flywheel Group
Note: Refer to the System Operation, Testing & Adjusting, “Flywheel Runout” for the correct method of flywheel inspection.
(1) Apply 4C-5593 Anti-Seize Compound to the threads of the bolts. Tighten the bolts to the following torque. … 270 ± 40 N·m (200 ± 30 lb ft)
(2) The maximum temperature of the ring gear for installation … 315°C (600°F)
|
|
|
|
|
|
| Illustration 5 | g00390316 |
|
136-2614 Flywheel Group |
|
Note: Refer to the System Operation, Testing & Adjusting, “Flywheel Runout” for the correct method of flywheel inspection.
(1) Apply 4C-5593 Anti-Seize Compound to the threads of the bolts. Tighten the bolts to the following torque. … 270 ± 40 N·m (200 ± 30 lb ft)
(2) The maximum temperature of the ring gear for installation … 320°C (608°F)
|
|
|
|
|
|
| Illustration 6 | g00390317 |
|
147-6284 Flywheel Group |
|
Note: Refer to the System Operation, Testing & Adjusting, “Flywheel Runout” for the correct method of flywheel inspection.
(1) Apply 4C-5593 Anti-Seize Compound to the threads of the bolts. Tighten the bolts to the following torque. … 270 ± 40 N·m (200 ± 30 lb ft)
(2) The maximum temperature of the ring gear for installation … 300°C (572°F)
|
|
|
|
|
|
| Illustration 7 | g00285283 |
|
107-3847 Flywheel Group |
|
Note: Refer to the System Operation, Testing & Adjusting, “Flywheel Runout” for the correct method of flywheel inspection.
(1) Apply 4C-5593 Anti-Seize Compound to the threads of the bolts. Tighten the bolts to the following torque. … 270 ± 40 N·m (200 ± 30 lb ft)
(2) The maximum temperature of the ring gear for installation … 315°C (600°F)
|
|
|
|
|
|
| Illustration 8 | g00285281 |
|
113-7059 Flywheel Group |
|
Note: Refer to the System Operation, Testing & Adjusting, “Flywheel Runout” for the correct method of flywheel inspection.
(1) Apply 4C-5593 Anti-Seize Compound to the threads of the bolts. Tighten the bolts to the following torque. … 270 ± 40 N·m (200 ± 30 lb ft)
(2) The maximum temperature of the ring gear for installation … 300°C (572°F)
|
|
|
|
|
|
| Illustration 9 | g00285288 |
|
113-7060 Flywheel Group |
|
Note: Refer to the System Operation, Testing & Adjusting, “Flywheel Runout” for the correct method of flywheel inspection.
(1) Apply 4C-5593 Anti-Seize Compound to the threads of the bolts. Tighten the bolts to the following torque. … 270 ± 40 N·m (200 ± 30 lb ft)
(2) The maximum temperature of the ring gear for installation … 315°C (600°F)
(3) The bore size in the bushing is the following size. … 52.007 ± 0.013 mm (2.0475 ± 0.0005 inch)
(4) The diameter of the bushing is the following diameter. … 72.022 ± 0.015 mm (2.8355 ± 0.0006 inch)
The bore size in the flywheel is the following size. … 71.971 ± 0.015 mm (2.8335 ± 0.0006 inch)








