
Left side view of engine
(3) Cover
(2) Install the gasket so that the bead is facing the cover.
Note: Apply 1U-8846 Gasket Sealant to the gasket surface that is on the cover. Spread the sealant uniformly on the face of the cover and around the bolt holes. The cover must be installed and tightened within ten minutes.
(4) Use 12 spacers along the bottom row of bolts for each of the cover.
(5) Install the sleeve in six locations (1) .

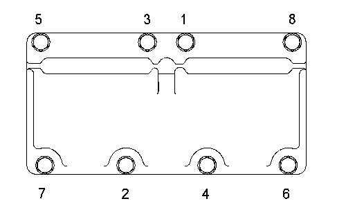
Tighten the bolt 1 through 8 on each cover in a numerical sequence that is shown in Illustration 2 to standard torque.
Again, tighten the bolt 1 through 8 on each cover in a numerical sequence that is shown in Illustration 2 to standard torque.