

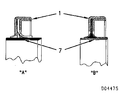
Rear Crankshaft Seal Groups:
“A”- Single Lip, “Dry” Applications
“B”- Double Lip, “Wet” Applications

Front Crankshaft Seal
Refer to Disassembly And Assembly for the complete procedure for removing and installing the crankshaft seal groups.
(1) Rear seal. Install with rear face of seal at dimension (X) from rear block face (4). Dimension (X) … 15.4 ± 0.5 mm (0.61 ± 0.02 in)
NOTE: Rear seal runs directly on crankshaft flange as originally manufactured. Service Rear seal group has a wear sleeve (7) that is part of the replacement rear seal group.
(2) Front seal. Install with front face of seal at dimension (Y) from front face of front housing. Dimension (Y) … 2.5 ± 0.5 mm (0.10 ± 0.02 in)
(3) Carrier housing/Flywheel housing.
(4) Rear face of block.
(5) Front housing.
(6) Pulley.
(7) Wear sleeves. Do not remove wear sleeves from seal group.
(8) Shipping sleeve for front seal. Remove shipping sleeve after installing front seal (2) in housing and immediately before installing pulley (6).