
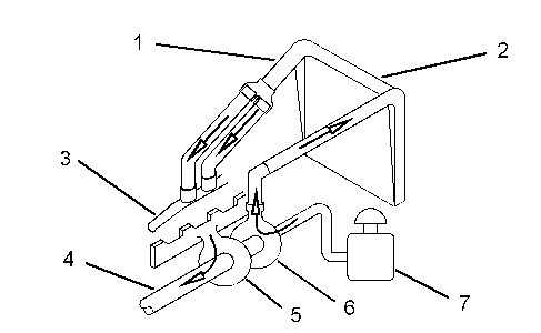
Illustration 1 g01448580
Air flow schematic
(1) Air line
(2) Aftercooler core
(3) Air inlet elbow
(4) Exhaust outlet from turbocharger
(5) Turbine side of turbocharger
(6) Compressor side of turbocharger
(7) Air cleaner
The components of the air inlet and exhaust system control the quality of the air that is available for combustion. These components also control the amount of the air that is available for combustion. The components of the air inlet and exhaust system are listed below:
- Air cleaner
- Turbocharger
- Aftercooler
- Cylinder head
- Valves and valve system components
- Piston and cylinder
- Exhaust manifold
Inlet air is pulled through the air cleaner. The inlet air is then compressed and heated by the compressor wheel of turbocharger (6) to about 150°C (300°F). The inlet air is then pushed through air-to-air aftercooler core (2) and the inlet air is moved to air inlet elbow (3). The temperature of the inlet air at air inlet elbow (3) is about 43°C (110°F). Cooling of the inlet air increases the combustion efficiency. Increased combustion efficiency helps to lower fuel consumption. Also, increased combustion efficiency helps to increase horsepower output.
Aftercooler core (2) is a separate cooler core. Aftercooler core (2) is installed in front of the core (standard) of the engine radiator on the machine. Air that is ambient temperature is moved across the aftercooler core by the engine fan. This cools the turbocharged inlet air.
From aftercooler core (2), the air is forced into the cylinder head in order to fill the inlet ports. Air flow from the inlet port into the cylinder is controlled by the inlet valves.