Use compressed air in order to check the piston cooling jets for plugging.
Visually inspect the piston cooling jets for damage or distortion. If damage to a cooling jet is suspected, replace the piston cooling jet.
Note: The proper operation of the piston cooling jet is essential to ensure correct cooling and lubrication of the piston. When you remove the piston cooling jets from the engine, be sure to handle the cooling jets in a manner that the jets will not become damaged.

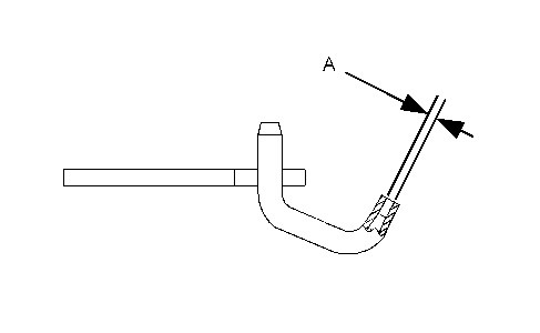
Piston cooling jet with a single orifice
(A) Diameter of the orifice for piston cooling jet … 1.97 mm (0.078 inch)

Side view of the piston cooling jet

View A-A
Piston cooling jet with a dual orifice
(1) Diameter of the larger orifice for piston cooling jet … 1.97 mm (0.078 inch)
(2) Diameter of the smaller orifice for piston cooling jet … 1.37 mm (0.054 inch)