Type 1
When the solenoid is installed, make an adjustment of the pinion clearance. The adjustment can be made with the starting motor removed.

Illustration 1 g01429959
Connection for checking pinion clearance
Typical example
(1) Connector to the motor
(2) Switch terminal
(3) Ground terminal
Install the solenoid without connector (1) from the MOTOR connections (terminal) on the solenoid to the motor.
Connect a battery, that has the same voltage as the solenoid, to the “SW” terminal (2) .
Connect the other side of the battery to ground terminal (3) .
Temporarily, connect a wire from the solenoid connection (terminal), which is marked “MOTOR”, to the ground connection (terminal). The pinion will shift to the crank position and the pinion will stay there until the battery is disconnected.

Illustration 2 g01429960
Typical example
(4) Shaft nut
(5) Pinion
(A) Pinion clearance
Push the pinion toward the end with the commutator in order to remove free movement.
Pinion clearance (A) must be 9.10 mm (0.358 inch).
In order to adjust the pinion clearance, remove the plug and turn the shaft nut (4) .
After the adjustment is completed, install the plug over the nut (4) and install the connector (1) between the MOTOR terminal on the solenoid and the motor starter.
Type 2
The solenoid position on the starting motor controls the pinion clearance. If the solenoid position is correct, the pinion clearance is correct. Do the following procedure to adjust the solenoid position.

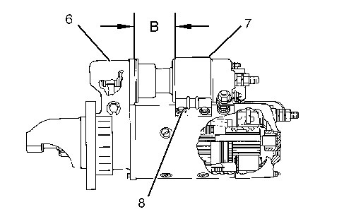
Illustration 3 g01429964
Solenoid Assembly
Typical example
(6) Intermediate housing
(7) Solenoid mounting bracket
(8) Bolts
(B) Distance for adjustment
Check the distance (B) between the intermediate housing (6) and the solenoid mounting bracket (7) . Use calipers to check distance (B) .
(B) Distance … 62.05 ± 0.35 mm (2.443 ± 0.014 inch)
If the distance (B) is not correct, loosen bolts (8) and move the solenoid until distance (B) is correct. The solenoid mounting bracket (7) has elongated holes.
Tighten the bolts (8) to 12 ± 3 N·m (9 ± 2 lb ft) after the adjustment is correct.