High Idle Plugging Test

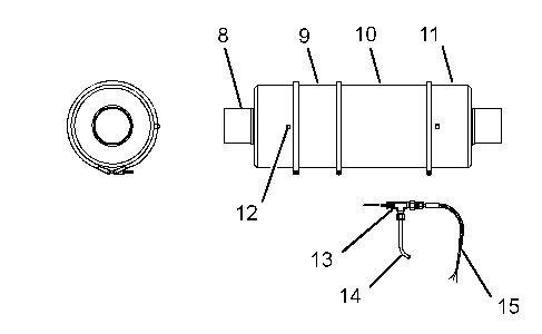
diesel particulate filter (typical example)
(8) Inlet section
(9) Catalyst section
(10) Filter section
(11) Outlet section
(12) Test location
(13) Tee fitting
(14) Copper tubing
(15) Thermocouple
Note: Limit the idle time of the engine to 20 minutes. If large quantities of soot are accumulated in the diesel particulate filter, running the engine can permanently damage the filter and other components.
Note: Do not test the exhaust back pressure if the red warning light has been activated. Clean the diesel particulate filter immediately.
Note: Refer to Special Instruction, REHS1807, “Installation Guide for Particulate Trap Exhaust Filters” for properly cleaning the diesel particulate filter.
Inspect the system components for any noticeable damage that would cause a restriction.
Connect the pressure port of the differential pressure gauge to test location. Refer to Truck Engine News, SEBD6729, “Measuring Exhaust Back Pressure” for measuring the back pressure at a proper test location.
Leave the vacuum port of the differential pressure gauge open to the atmosphere.
Start the engine. Run the engine in the no-load condition at high idle until the engine reaches normal operating temperature.
Record the value.
Multiply the value from Step 5 by 1.8.
Compare the test result to the value that follows.
Clean the diesel particulate filter if the back pressure exceeds the following value.
Maximum back pressure for engines with a diesel particulate filter … 25 kPa (100 inch of H2O)
Full Load Test
Limit the idle time of the engine to 20 minutes. If large quantities of soot are accumulated in the diesel particulate filter, running the engine can permanently damage the filter and other components.
Note: Do not test the exhaust back pressure if the red warning light has been activated. Clean the diesel particulate filter immediately.
Note: Refer to Special Instruction, REHS1807, “Installation Guide for Particulate Trap Exhaust Filters” for properly cleaning the diesel particulate filter.
Check the arrangement number of the engine and verify that all components are correct.
Note: Run the vehicle on a dyno up to 30 minutes in order to reach operating temperature. Monitor all of the engine components for any signs of overheating.
Measure the back pressure at full load and full speed.
Record the results.
The back pressure for the diesel particulate filter is at 24.9 kPa (100 inch of H2O).
Replace any components that cannot be cleaned. Replace any components that are proven faulty.