Adjustment Procedure

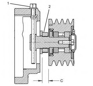
Illustration 1 g02519158
Belt tensioner
(1) Adjustment bolt
(2) 46 mm (1-13/16 inch) jamming locknut (jam nut)
(C) 22 mm (0.87 inch)
Use the following procedure to adjust the belts.
- Using tooling (A) wrench, loosen the jam nut (2) .Note: See Illustration 1, dimension (C) .
- Loosen the adjustment bolt (1) .
- Tighten the adjustment bolt (1) . Use tooling (B) to ensure that belt is tensioned according to table 2.
- Tighten the jam nut to a torque of 200 ± 25 N·m (148 ± 18 lb ft)
| Fan Drive Belt Adjustment | |
| Belt Tension (Initial) | Belt Tension (Used) (1) |
| 801 ± 44 N (180 ± 10 lb) | 378 ± 44 N (85 ± 10 lb) |
| ( 1 ) | Belt with over 30 minutes of operation at a rated speed |