
SMFS And HSMFS Differences
(1) Fuel air ratio control (FARC). (2) Sleeve control lever assembly (HSMFS). (3) Sleeve control lever assembly (SMFS). (4) Sleeve (HSMFS). (5) Sleeve (SMFS).

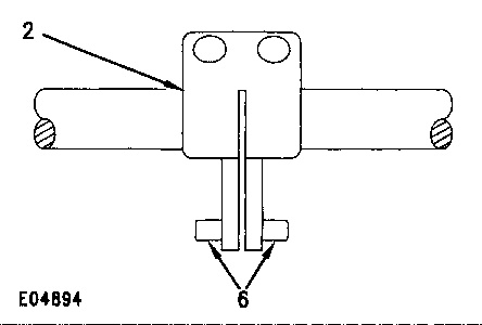
Sleeve Control Lever Assembly (HSMFS)
(2) Sleeve control lever assembly (HSMFS). (6) Pin (split).
The above split view shows the conventional SMFS sleeve metering control linkage on the right half. The HSMFS control linkage, shown on the left. The SMFS there are four sleeve control lever assemblies (3) on each control shaft. The HSMFS has two sleeve control lever assemblies (2) per control shaft. Each HSMFS sleeve control lever assembly indexes two fuel pump assemblies as it comes in between the two fuel pumps and indexes the two sleeves (4). Notice the amount of material on either side of the groove in the sleeve (HSMFS) (4). It is of equal thickness on either sides of the groove (sleeve wall thickness), while the thickness of the material on the sleeve (SMFS) (5) is thinner on the top than that on the bottom.
The SMFS design has sleeve control lever assemblies (4) in line with the fuel pump assemblies. Limited space between the control shaft and the fuel pump assembly limits plunger size and sleeve wall thickness. The larger 9 mm (.35 in) plunger is associated with thin sleeve walls. The HSMFS, shown on the left, overcomes this disadvantage by moving the sleeve control lever assembly (1) between two fuel pump assemblies to control two fuel pump assemblies at once. The sleeve control lever assembly (2) contains a pin (6) which is split in half. In this way it can be positioned between the two fuel pump assemblies to index the two sleeves (4). This arrangement allows the sleeve walls to be thicker and more capable of operating at the higher pressures needed for emissions control. The Fuel Air Ratio Control (FARC) (1) operates without piston preload when used with the HSMFS.