
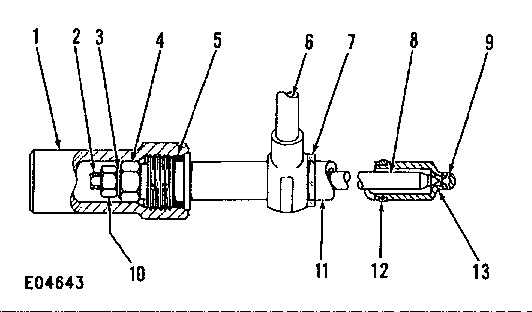
Pencil Type Fuel Injection Nozzle
(1) Cap. (2) Lift adjustment screw. (3) Pressure adjustment screw. (4) Locknut (for adjustment screw). (5) O-ring seal. (6) Fuel inlet. (7) Compression seal. (8) Valve. (9) Nozzle orifices. (10) Locknut (for lift adjustment screw). (11) Nozzle body. (12) Carbon dam. (13) Nozzle tip.
The fuel inlet (6) and nozzle tip (13) are parts of the nozzle body (11). Valve (8) is held in position by spring force. Force of the spring is controlled by pressure adjustment screw (3). Locknut (4) holds pressure adjustment screw (3) in position. The lift of valve (8) is controlled by lift adjustment screw (2). Locknut (10) holds lift adjustment screw (2) in position. Compression seal (7) goes on the nozzle body (11).
Compression seal (7) goes against the fitting of fuel inlet (6) and prevents the leakage of compression from the cylinder. Carbon dam (12), at the lower end of the nozzle body (11), prevents the deposit of carbon in the bore of the cylinder head.
Fuel, under high pressure from the fuel injection pump goes through the hole in fuel inlet (6). The fuel then goes around valve (8), fills the inside of the nozzle body (11) and pushes against the valve guide. When the force made by the pressure of the fuel is more than the force of the spring, valve (8) will lift. When valve (8) lifts, fuel under high pressure will go through the nozzle orifices (9) into the cylinder. When the fuel is sent to the cylinder, the force made by the pressure of the fuel in the nozzle body will become less. The force of the spring will then be more than the force of the pressure of the fuel in the nozzle body. Valve (8) will move to the closed position.
Valve (8) is a close fit with the inside of nozzle tip (13), this makes a positive seal for the valve.
When the fuel is sent to the cylinder, a very small quantity of fuel will leak by the valve guide. This fuel gives lubrication to the moving parts of the fuel injection nozzle.