Introduction
Reference: See 3208 Industrial Engine Attachments, SENR3692, for Specifications.
NOTE: For Specifications with illustrations, make reference to Specifications For 3208 Industrial Engine Attachments, SENR3692. If the Specifications in SENR3692 are not the same as in the Systems Operation and Testing And Adjusting, look at the printing date on the front cover of each book. Use the Specifications given in the book with the latest date.
NOTE: A “C” in the left margin is an indication of a change from the former issue.
Troubleshooting
Troubleshooting can be difficult. On the following pages there is a list of possible problems. To make a repair to a problem, make reference to the cause and correction.
This list of problems, causes and corrections will only give an indication of where a possible problem can be, and what repairs are needed. Normally, more of other repair work is needed beyond the recommendations in the list. Remember that a problem is not normally caused only by one part, but by the relation of one part with other parts. This list can not give all possible problems and corrections. The serviceman must find the problem and its source, then make the necessary repairs.
Troubleshooting Index
- 1. Contactor Switch For Water Temperature Fails To Activate Shutoff.
- 2. Contactor Switch For Water Temperature Activates Shutoff At Wrong Temperature.
- 3. Switch For Oil Pressure Fails To Activate Shutoff.
- 4. Engine Protection Panel Will Not Activate Engine Shutoff.
- 5. Engine Protection Panel Stops Engine When Reset Button Is Released.
- 6. Clutch Will Not Engage (Slips), Heats Or Lever Moves To Released Position.
- 7. Clutch Shaft Has Too Much End Play.
- 8. Electrical Gauges Give Wrong Readings.
Problem 1: Contactor Switch For Water Temperature Fails To Activate Shutoff
Probable Cause:
1. Wrong Connections:
Connect battery to C and fuel shutoff solenoid to NO connections. Check connections to other components or make installation of new wiring.
2. Low Water Level In Cooling System:
Fill the cooling system.
3. Wrong Setting Of Switch:
Make a test of temperature setting and, if necessary, install new contactor switch with correct setting. See Specifications.
Problem 2: Contactor Switch For Water Temperature Activates Shutoff At Wrong Temperature
Probable Cause:
1. Wrong Setting Of Switch:
Make a test of temperature setting and, if necessary, install new contactor switch with correct setting. See Specifications.
Problem 3: Switch For Oil Pressure Fails To Activate Shutoff
Probable Cause:
1. Wrong Connections:
Check and make connections as shown in wiring diagrams.
2. Wrong Setting Of Switch:
Test and adjust switch. If necessary, install new switch.
Problem 4: Engine Protection Panel Will Not Activate Engine Shutoff
Probable Cause:
1. Fuse Burned Out:
Find and correct the cause for the burned out fuse. Install new fuse.
2. Grounded Or Loose Wiring:
Check and repair any worn or loose wiring.
3. Components In System Not Functioning Correctly:
Check components and install new ones as needed.
Problem 5: Engine Protection Panel Stops Engine When Reset Button is Released
Probable Cause:
1. Grounded Wiring Between “S” Terminal And Switches:
Install new wiring.
2. Broken Water Temperature Or Oil Pressure Switches:
Check the switches and install new ones as needed.
Problem 6. Clutch Will Not Engage (Slips), Or Lever Moves To Released Position
Probable Cause:
1. Wrong Adjustment:
Make adjustment to clutch engagement lever pull.
2. Alignment Of Flywheel And Flywheel Housing Mounting Faces And Bores:
Check and make adjustment to alignment.
3. Overload On Clutch:
Reduce load or reduce engine speed when engaging clutch.
Problem 7. Clutch Shaft Has Too Much End Play
Probable Cause:
1. Bearing Worn Or Adjustment Wrong:
Replace and/or make adjustment to shaft bearing.
Problem 8: Electrical Gauges Give Wrong Readings
Probable Cause:
1. Wrong Connections:
Check wiring connections to be sure they are tight. Check to see that the gauges are correctly connected as shown in the wiring diagrams.
2. Sending Units Fail To Operate:
Check the sending units and install a new one if necessary.
3. Wrong Sending Unit In System:
Install correct sending unit.
Electrical System
Water Temperature Switch
First Method Of Checking
1. Make a heat sink as shown. Material can be brass, steel or cast iron. Drill a 17.8 mm (.70 in) hole through the plate and use a tap to make 1/2 inch NPT threads.
2. Put marks on wire connections to water temperature switch terminals and disconnect the wire.
Heat Sink [Dimensions in mm (in)]
Test Of Water Temperature Switch
(1) 2F7112 Thermometer. (2) Fabricated heat sink.
3. Remove the water temperture switch and install a 3J5389 Plug. Install the water temperture switch in the heat sink.
4. Connect the wires to the water temperature switch to check all of the system; water temperature switch, wires, etc.
NOTE: If the wires cannot be disconnected, use the second method of testing.
5. When the water temperature switch is connected again, start the engine and run it at low idle rpm. The pressure switch will complete the circuit when the engine is running.
NOTE: When applying heat to the water in Step 6, be sure to stir (keep water moving) while heating.
6. Put the heat sink and water temperature switch in water. Use blocks to support the heat sink at surface level. Use a torch to make the water hot and read the temperature on thermometer (1) at which the water temperature switch is closed. Check the specifications for the respective temperatures at which the water temperature switch opens and closes. Let the water temperature go down. The water temperature switch will open when the temperature is 8°C (12°F) lower than the temperature at which the water temperature switch closes.
7. Install new water temperature switch if necessary.
To check other components in the system, put a jumper wire between C and NO terminals of the water temperature switch.
Second Method of Checking
1. Remove the wires from the water temperature switch.
2. Connect the 8T0500 Circuit Tester between the C and NO terminals.
3. Look at the circuit tester to see when the water temperature switch closes. The light will be activated. Check the specification for the water temperature switch closings.
4. Start the engine and get it hot. Temperature must not go more than approximately 3°C (37°F) above switch activation temperature.
|
|
| NOTICE |
|---|
|
If the engine cannot be run safely at these high temperatures, the water temperature switch must be checked off the engine. |
|
|
5. Let the engine run at a reduced speed to lower the coolant temperature before stopping the engine.
6. Install new water temperature switch if needed.
Electrical Indicators And Sending Units
Remember that the electrical indicators and sending units are to operate in electrical balance. For this reason, the voltage and resistance ratings are important to get the correct indications on the indicators.
Sending Units For Oil Pressure
Sending Unit For Oil Pressure
(1) Terminal. (2) Fitting.
The sending unit for engine oil pressure can be checked for resistance to find if it is operating correctly. Connect the sending unit to a pressure source that can be measured with accuracy. Connect the ohmmeter between fitting (2) and terminal (1). Take resistance readings at the pressures given in the Attachment Specifications section.
If the test performance is correct for the sending unit for the oil pressure, install a new indicator.
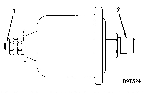
Sending Unit For Water Temperature
Sending Unit For Water Temperature
(1) Bulb. (2) Nut. (3) Connection.
1. Connect a multimeter between connection (3) and nut (2). Put bulb (1) in heat sink then into a pan of water. Do not let the bulb have contact with the pan (see water temperature switch for more detail).
2. Put a 2F7112 Thermometer in the water to measure the temperature.
3. Refer to Sending Units For Water Temperature in the Specifications section. Take resistance readings at the temperature shown.
4. If a unit does not have the correct resistance readings, replace the unit.
Magnetic Pickup
(1) Distance between end of magnetic pickup and gear. (2) Nut.
(1) Distance between end of magnetic pickup and gear … 0.30 to 0.75 mm (.012 to .030 in)
NOTE: This distance is set by turning magnetic pickup into threads until magnet is against the gear tooth while the engine is stopped. Now back magnetic pickup out 1/3 ± 1/10 turn and tighten nut as follows.
(2) Nut. Tighten nut to a torque of … 45 ± 7 N·m (33 ± 5 lb ft)
Tachometers
Tachometers can be adjusted by the following procedure.
1. Remove the plastic plug on the rear of the tachometer.
2. Using a small screw driver, turn the adjusting screw to increase or decrease the tachometer reading.
3. Replace the plastic plug.
Electric Indicators
Wiring Diagram For Test
(1) System voltage. (2) Sender resistance. (3) Case ground.
Prior to inspection of individual pointer positions warm up indicator for minimum of five minutes. Using each sender resistance from the calibration supplied in the Specifications manual and the proper system voltage, each indicator can be checked. Check calibration indicator with ascending pointer. Position of pointer with current off is immaterial. The test must be made when the indicator is installed at the angle of 30 degrees back from vertical position.
Power Takeoff Clutches
Clutch Adjustment
2N1373
Clutch Adjustment
(1) Lock pin (push-type). (2) Lock pin (pull-type).
1. Disconnect linkage (if so equipped) from the clutch lever. Fasten a spring scale to the clutch lever at the distance, from the lever shaft center, shown in the chart.
2. Look at the spring scale. Keep the angle between the scale and the lever at 90 degrees. Pull the lever with the spring scale until the clutch engages. Make reference to the chart to find the correct amount of pull for the clutch assembly.
3. If the pull needed to engage the clutch is not correct, make an adjustment as follows:
4. Remove the inspection plate from the clutch housing.
5. Turn the clutch until lock pin (1 or 2) can be seen.
6. Release push-type lock pin (1) or pull-type lock pin (2). Turn the adjustment ring and check the pull needed to engage the clutch again.
NOTE: Turn the adjustment ring clockwise, as seen from the rear of the clutch, to increase the pull needed. Turn it counterclockwise to decrease the pull needed.










