3208 – Fuel Setting (SMFS)

The procedure that follows for fuel setting can be done with the housing for the fuel injection pumps either on or off the engine.

NOTE: If the fuel injection pump group is equipped with a fuel ratio control, the fuel ratio control must be removed before the fuel setting is checked or adjusted.

NOTE: If a fuel temperature compensated torque control group is used, the temperature of the fuel must be less than 52°C (125°F) when checking or adjusting the fuel setting.


Removal Of Covers
(1) Shutoff solenoid. (2) Top cover.

1. Remove shutoff solenoid (1) and top cover (2).


Installation Of Cover
(3) 5P6602 Adapter. (4) 3J6956 Spring. (5) 5P0298 Zero Set Pin, (with 17.8507 on it).

2. Put the 5P0298 Zero Set Pin (5), in the fuel injection pump housing.

3. Put 5P6602 Adapter (3) and 3J6956 Spring (4) over 5P0298 Zero Set Pin (5). Use a 1D4533 Bolt and a 1D4538 Bolt to fasten 5P6602 Adapter (3) to the fuel injection pump housing.


Installation Of 8S7271 Setscrew
(6) 8S7271 Setscrew.

4. Put 8S7271 Screw (6) in the hole over 5P0298 Zero Set Pin (5) and 3J6956 Spring (4).

5. Turn 8S7271 Screw (6) clockwise until 5P0298 Zero Set Pin (5) is held against the fuel injection pump housing. DO NOT tighten 8S7271 Setscrew (6) too tight.


Installation Of Clamp
(3) 5P6602 Adapter. (7) 3P1565 Collet Clamp.

6. Put 3P1565 Collet Clamp (7) in 5P6602 Adapter (3).

7. Move the governor control lever to Full Load position.


Installation Of 3P1567 Dial Indicator
(7) 3P1565 Collet Clamp. (8) 3P1567 Dial Indicator. (9) 5P6531 Contact Point, 57.2 mm (2.25 in) long.

8. Put 5P6531 Contact Point (9) on 3P1567 Dial Indicator (8). Put the indicator assembly in 3P1565 Collet Clamp (7).


Indicator Set On Zero
(8) 3P1567 Dial Indicator. (10) Pointers.

9. Adjust 3P1567 Dial Indicator (8) so both pointers (10) are on “0” (zero).


Loosening 8S7271 Setscrew
(11) 5P4205 Wrench.

10. Use 5P4205 Wrench (11) to turn the 8S7271 8S7271 Setscrew (6) counterclockwise. Turn 8S7271 Setscrew (6) six or more turns.

8T0500 Circuit Tester

11. Put the clip end of the 8T0500 Circuit Tester to a good ground. Put the other end of the 8T0500 Circuit Tester on the load stop contact.

12. Move the governor control lever to the LOW IDLE position.

13. Move the governor control lever slowly toward the HIGH IDLE position until the continuity light just comes on. Make a note of the reading on dial indicator (8). Do this step several times to make sure the reading is correct.

14. Make a comparison of this reading and the fuel setting in the TMI (Technical Marketing Information) and Fuel Setting And Related Information Fiche.

15. If the reading on 3P1567 Dial Indicator (8) is not correct, do the following.

Load Stop Adjustment


Adjustment Of Fuel Setting
(16) Screwdriver. (17) Adjustment screw. (18) Wrench.


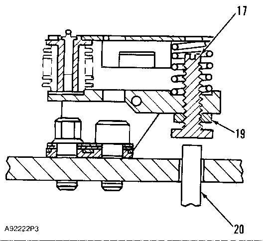
Adjustment Screw For Fuel Setting
(17) Adjustment screw. (19) Locknut. (20) Load stop pin.


Adjustment Screw For Fuel Setting
(17) Adjustment screw. (19) Locknut. (20) Load stop pin.

a. Use wrench (18) and loosen locknut (19).

b. Use screwdriver (16) to turn adjustment screw (17) until the reading on 3P1567 Dial Indicator (8) is the same as the dimension given in the TMI (Technical Marketing Information) and Fuel Setting And Related Information Fiche.

c. When the adjustment is correct, tighten locknut (19). Check the adjustment again by doing Steps 11 through 15 again.

NOTE: The same tools that are used in this procedure are also used for the fuel ratio control adjustment.

Leave a Reply

Your email address will not be published. Required fields are marked *