Disassemble the Starting Motor
Remove the starting motor from the machine.

Illustration 1 g00704122
1.Disconnect the connector (3) from the motor terminal. Disconnect the negative wire assembly (1) from the terminal assembly (2). Remove the four nuts and the four bolts (4). Pull the terminal assembly (2) away from the solenoid (7) until you can see three leads.

Illustration 2 g00704470
2.Disconnect the three leads (5) from the terminal assembly (2). Remove the gasket, the nuts, the washers, the lockwashers, and the insulator from the terminal assembly.
3.Remove the contact assembly (6) and the bushing from the solenoid.

Illustration 3 g00704535
4.Loosen the clamp (8). Remove the four bolts (9) and the solenoid (7) .

Illustration 4 g00704558
5.Remove the plug (11) and the gasket. Remove the nut and the plunger assembly (10) .
Note: If necessary, remove the ring, the retainer, the spring, the boot, the retainer, and the washer from the plunger.

Illustration 5 g00704602
6.Remove the three plugs (12) and the gaskets from the starting motor housing. Disconnect the three field winding leads from the brush plate assembly.

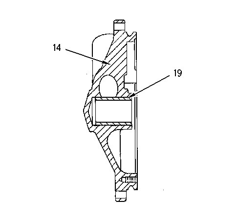
Illustration 6 g00704608
7.Mark the starting motor housing, the shift lever, the pinion drive housing and the rear frame (14) for proper assembly. Disconnect the negative wire assembly (1) from the terminal.
8.Remove the six bolts (13) from the rear frame assembly (14). Pull the rear frame assembly (14) away from the starting motor housing until you expose the brushes. Pull each brush upward until the spring will rest against the side of the brush. This will ease the brush pressure against the commutator. Remove the rear frame assembly (14) and the thrust washer.

Illustration 7 g00704625
9.Remove the brushes (15), the negative terminal nut, the washers and the insulator. Remove the three screws (17) from the brush plate assembly (16). Remove the brush plate assembly (16), the insulator, the washers and the gasket from the rear frame assembly (14) .

Illustration 8 g00704842
10.Remove the bushing (19) from the rear frame assembly (14) .

Illustration 9 g00704856
11.Remove the screws (20) that hold the brush holders. Remove the brush holders and the plate (21) from the insulator (22) .

Illustration 10 g00704870
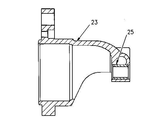
12.Remove the six bolts (24) that hold the pinion drive housing (23) to the motor starter. Remove the pinion drive housing.

Illustration 11 g00704875
13.Remove the bushing (25) from the pinion drive housing (23) .

Illustration 12 g00704879
14.Remove the armature (26) and the pinion drive assembly (27) from the starting motor and the shift lever housings.
Note: A spacer may drop out of the starting motor housing.

Illustration 13 g00705073
15.Remove the seven bolts (30) that hold the shift lever housing (29). Remove the shift lever housing. Remove the O-ring seal and the gasket from the shift lever housing.
16.Remove the snap ring (31) with a 1P-1855 Retaining Ring Pliers. Remove the shaft (31) and the shift lever assembly (28). Remove the shaft seals from the shift lever housing (29) .

Illustration 14 g00705400
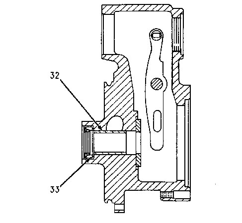
17.Remove the seal (33) and the bushing (32) from the shift lever housing with a 1P-0510 Driver Gp .

Illustration 15 g00705427
18.Remove the twelve screws (37), the motor terminal (36), the pole shoes (34) and the field winding assembly (35) .
Note: An impact driver may need to be used to remove the twelve screws (37) .
19.Clean the armature assembly, the field winding assembly, and the pinion drive assembly. Use mineral spirits thinner and a brush.
20.Clean the commutator with No. 00 sandpaper. Do not use emery cloth.
21.Inspect all parts for wear and damage.