
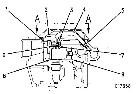
Section View A-A
(1) Injector hold-down clamp.
(2) Bolt. Tighten to torque … 30 ± 7 N·m (22 ± 5 lb ft)
(3) Bolt. Tighten to torque … 5 ± 0.5 N·m (45 ± 4 lb in)
(4) Jumper tube assembly. Tighten flare nut to … 40 ± 5 N·m (30 ± 4 lb ft)
NOTE: See jumper tube (installation) for injector orientation and installation in this module.
(5) Orifice fitting. Tighten to a torque … 25 ± 3 N·m (18 ± 2 lb ft)
(6) Seat.
(7) O-ring.
(8) Hydraulic electronic unit injector.
(9) Solenoid.
(10) Angle of bolt orientation with jumper tube assembly (4). … 26 ± 3 degrees
Hydraulic electronic injector orientation/jumper tube installation:
Rotate hydraulic electronic unit injector (8) until the solenoid (9) touches the rear rocker stand. Rotate the hydraulic electronic unit injector (8) back 1.0 to 6.0 mm (0.39 to .236 in). This will orient the injector in the cylinder head correctly.
Install orifice fitting (5) with O-ring and tighten to a torque of 25 N·m (18 lb ft). Install O-ring (7) into the top groove of the hydraulic electronic unit injector.
Position flare seat on center of the hydraulic electronic unit injector (8). Install jumper tube assembly (4) into manifold end first, then onto flare seat on the hydraulic electronic unit injector. Start flare nut into manifold and tighten by hand ensuring the flare is seated on the fitting (5). Install the bolts (3) at the hydraulic electronic unit injector end of jumper tube assembly (4) making sure that seat (6) is correctly positioned under the injector end of the jumper tube assembly (4). Tighten evenly until hand tight. Install hydraulic electronic unit injector hold-down clamp (1) and tighten to 10 N·m (7 lb ft). This should “bottom” the hydraulic electronic unit injector (8) in its bore and position the jumper tube flange parallel to the hydraulic electronic unit injector’s top surface.
NOTE: The jumper tube should not “rock” by hand after the bolt is torqued. If it does, increase torque up to 20 N·m (15 lb ft).
Torque flare nut at manifold end to 40 N·m (30 lb ft). Remove hydraulic electronic unit injector hold-down clamp (1). Torque the hydraulic electronic unit injector’s bolts (3) to 2 N·m (18 lb in), then retorque to 5 N·m (45 lb in). Install hold-down clamp (1) and torque bolt (2) to 30 N·m (22 lb ft).