
A Tools needed: 1-9S8874 Locator, 2-5P7296 Installer, 3-5P7297 Installer, 4-9S8893 Bolts (three), 5-9S8858 Nut, 6-9S8889 Bolts (three), 7-5P7302 Locator.
B Install Rear Seal and Wear Sleeve

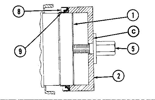
1 Fasten 9S8874 Locator (1) to the rear of the crankshaft with three 9S8893 Bolts (4). Put clean engine oil on the seal lip of seal (8) and on the outside diameter of wear sleeve (9). Put the seal on the wear sleeve as shown. Use 8M8060 Quick Cure Primer to clean the outside surface (A) of the crankshaft gear and the inside diameter (B) of the wear sleeve. Put 9S3265 Retaining Compound on the outside diameter (A) of the crankshaft gear and the inside diameter (B) of the wear sleeve.

2 Put wear sleeve (9) with seal (8) on locator (1) as shown. Install 5P7296 Installer (2) and 9S8858 Nut (5). Put lubricant at location (C) [between face of washer on nut (5) and its contact area on installer (2)]. Tighten nut (5) until installer (2) is against locator (1).
C Install Front Seal and Wear Sleeve

1 Fasten 5P7302 Locator (7) to the front of the crankshaft with three 9S8889 Bolts (6). Put clean engine oil on the seal lip of seal (10) and on the outside diameter of wear sleeve (11). Put the seal on the wear sleeve as shown. Use 8M8060 Quick Cure Primer to clean surface (A) on the crankshaft and the inside diameter (B) of the wear sleeve. Put 9S3265 Retaining Compound on outside surface (A) and inside diameter (B).

2 Put wear sleeve (11) with seal (10) on locator (7) as shown. Install 5P7297 Installer (3) and 9S8858 Nut (5). Put lubricant at location (C) [between face of washer on nut (5) and its contact area on installer (3)]. Tighten nut (5) until installer (3) is against locator (7).