Accumulators with Type 1 Valve
Discharge Procedure

Tooling (D) 175-5507 Nitrogen Charging Group

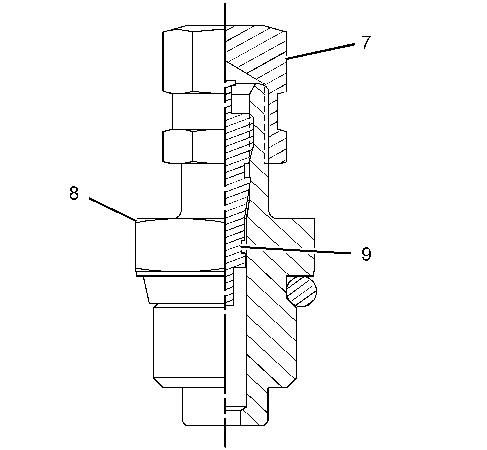
(7) Cap
(8) Nitrogen charging valve
(9) Core
- Identify the correct nitrogen charging chuck.
- Attach hose assembly (D11) to nitrogen charging chuck (D9 or D10) .
- Turn valve handle of nitrogen charging chuck (D9 or D10) all the way in the counterclockwise direction.Note: Turning the valve handle will ensure that nitrogen charging valve (8) will not be opened when nitrogen charging chuck (D9 or D10) is attached.
- Remove cap (7) from the nitrogen charging valve (8) .
- Attach nitrogen charging chuck (D9 or D10) to nitrogen charging valve (8) .
- Turn valve handle of nitrogen charging chuck (D9 or D10) in the clockwise direction in order to open nitrogen charging valve (8). Turning the valve handle will release all of the nitrogen from the accumulator through hose assembly (D11) .
Testing and Charging Procedure for the Accumulator Precharge Pressure
Note: Test the accumulator precharge pressure when the machine is not running and all pressure has been released from the hydraulic system. Make certain that hydraulic pressure at the accumulator is at zero. At this point the piston will be bottomed at the hydraulic end. For information on releasing the system pressure, refer to the Operation and Maintenance Manual for the machine.
- Remove cap (7) on nitrogen charging valve (8) .
- Identify the correct nitrogen charging chuck (D9 or D10).
- Turn the valve handle of nitrogen charging chuck (D9 or D10) all the way in the counterclockwise direction.
- Attach nitrogen charging chuck (D9 or D10) and hose assembly (D11) to nitrogen charging valve (8) .
- Attach hose assembly (D11) between nitrogen charging chuck (D9 or D10) and the tee. Install needle valve (D6) to the tee. Refer to Illustration 9. Install pressure gauge (D7) in the remaining open port on the tee.
- Turn the valve handle for needle valve (D6) all the way in the clockwise direction. Completely turning the valve handle will ensure the needle valve (D6) is closed.
- Turn valve handle of nitrogen charging chuck (D9 or D10) in the clockwise direction in order to open nitrogen charging valve (8) .
- Read pressure gauge (D7) in order to determine the charge pressure in the accumulator. If charging is needed, attach regulator (D8) to a nitrogen tank.
- Adjust pressure regulating screw on the regulator to obtain the correct pressure reading on the gauge. Refer to the Testing and Adjusting manual for your machine to obtain the correct pressure.Note: If the machine has been running for some time, the temperature of the accumulator may be different from the ambient temperature of the outside air. Refer to the table in your machine Testing & Adjusting information for the proper pressure for your machine. Use tooling (F) to determine the current temperature of the accumulator.
- Open needle valve (D6). Nitrogen will flow from the regulator to the accumulator. When gauge (D7) reads the correct pressure, close needle valve (D6) .
- Allow the temperature of the accumulator to stabilize. Recheck the precharge pressure at the stabilized temperature.
- Once the accumulator is charged, turn the valve handle of chuck (D9 or D10) counterclockwise completely. Remove chuck (D9 or D10). Remove the regulator from the nitrogen tank.
Accumulator Charge Procedure for a Rebuilt Piston Type Accumulator
When the accumulator has been rebuilt, the air must be removed from the upper nitrogen chamber of the accumulator. Use hydraulic oil to help remove the air from the upper nitrogen chamber of the accumulator and to lubricate the top seal of the piston in the accumulator. The piston within the accumulator is typically cupped on the nitrogen side. Fill the upper nitrogen chamber of the accumulator with enough hydraulic oil to cover the top of the piston.
After the installation of the rebuilt accumulator is complete, use the following steps in order to charge the accumulator.
- Identify the correct nitrogen charging chuck.
- Attach hose assembly (D11) to nitrogen charging chuck (D9 or D10) .
- Turn the valve handle of nitrogen charging chuck (D9 or D10) all the way in the counterclockwise direction.Note: Turning the valve handle will ensure that nitrogen charging valve (8) will not be opened when nitrogen charging chuck (D9 or D10) is attached.
- Remove cap (7) from nitrogen charging valve (8) .
- Attach nitrogen charging chuck (D9 or D10) to nitrogen charging valve (8) .
- Turn the valve handle of nitrogen charging chuck (D9 or D10) in the clockwise direction in order to open nitrogen charging valve (8) .
- Start the engine and allow the engine to run until the engine is warm. Activate the system for the accumulator.Hydraulic oil will flow into the bottom of the accumulator. The air will first be forced out of the upper chamber of the accumulator through the test equipment. Then, the hydraulic oil will be forced out of the upper chamber of the accumulator through the test equipment. When the hydraulic oil stops flowing out of the top of the accumulator, the upper chamber of the accumulator will contain no air.Note: A small amount of hydraulic oil will remain inside the accumulator. The small amount of hydraulic oil on the nitrogen side is acceptable and it helps with lubrication.
- Charge the accumulator according to the procedure in “”Testing and Charging Procedure for the Accumulator Precharge Pressure” “. Rebuilt accumulators require longer charging times. New accumulators require less charging time. When the accumulator has been rebuilt, the piston is located in the top of the cylinder. The piston will be forced to the bottom of the cylinder during the charging procedure.